701.02

 

 

16

octobre

1996

 

Règlement d'exécution
de la loi cantonale

sur l'aménagement du territoire (RELCAT)

(*)

Etat au
1
er septembre 2006

 

Le Conseil d'Etat de la République et Canton de Neuchâtel,

vu la loi cantonale sur l'aménagement du territoire (LCAT), du 2 octobre 19911);

sur la proposition du conseiller d'Etat, chef du Département de la gestion du territoire,

arrête:

 

 

CHAPITRE PREMIER

Autorités compétentes

Départements

a) principe

Article premier   1Le Département de la gestion du territoire (ci-après: le département) est chargé de l'application de la loi cantonale sur l'aménagement du territoire (LCAT), du 2 octobre 1991.

2Il peut notamment établir des directives.

 

b) réserve

Art. 22)   Le Département de l'économie et le service de l'économie agricole sont chargés de l'application des articles 73 à 75 du règlement.

 

Services

a) principe

Art. 3   1Le service de l'aménagement du territoire (ci-après: le service) est l'organe d'exécution du département.

2Il collabore avec les autres services concernés de l'administration cantonale, en particulier les services des ponts et chaussées, de la protection de l'environnement, de l'économie agricole, des forêts et de la protection des monuments et des sites, ainsi qu'avec l'architecte cantonal.

 

b) réserve

Art. 4   Le service des ponts et chaussées est chargé de l'élaboration et de l'application des plans d'alignement cantonaux.

 

Division de parcelles

Art. 5   1La division de parcelles au sens de l'article 10, alinéa 1, LCAT est communiquée au service.

2Le département est l'autorité compétente pour appliquer l'article 10, alinéa 2, LCAT.

 

CHAPITRE 2

Procédure de rectification de limites (art. 31c à 31g, LCAT)

Enquête publique

Art. 6   1Le projet de plan de mutation est mis à l'enquête publique.

2L'avis est publié deux fois dans la Feuille officielle et dans les journaux locaux, selon l'usage.

3Il indique:

a)  le nom des propriétaires concernés;

b)  la désignation des parcelles et du lieu-dit;

c)  le lieu et les dates de dépôt du dossier, ainsi que le délai d'opposition.

 

Opposition

Art. 7   1Le délai d'opposition est de vingt jours dès la première publication dans la Feuille officielle.

2Ont, en particulier, qualité pour s'opposer au projet les titulaires de droits réels restreints.

3L'opposition, dûment motivée, doit être envoyée au Conseil communal.

 

Dépôt du dossier

Art. 8   Le projet de plan de mutation est mis à disposition des intéressés auprès de l'administration communale jusqu'à l'expiration du délai d'opposition.

 

Décision

Art. 9   1Dans la décision de rectification de limites, le Conseil communal se prononce sur les oppositions.

2La décision est notifiée aux propriétaires concernés et aux opposants.

 

Inscription au registre foncier

Art. 10   Une fois la décision entrée en force de chose jugée, les nouvelles limites et les nouvelles surfaces sont inscrites au registre foncier sur la base d'un plan du géomètre cantonal, à la requête du Conseil communal.

 

CHAPITRE 3

Contenu des plans d'affectation

Section 1: Degré d'utilisation des terrains (art. 59, al. 1, lettre b, et al. 2, lettre a, LCAT)

Degré d'utilisation des terrains

Art. 11   1Le degré d'utilisation des terrains s'exprime en principe par le taux d'occupation du sol, ainsi que par la densité ou l'indice d'utilisation.

2Il peut s'exprimer exceptionnellement au moyen d'autres notions reconnues.

 

Calcul des dimensions des constructions

Art. 12   1Les dimensions des constructions sont calculées à partir du terrain naturel, en fonction de la surface constructible de la parcelle.

Terrain naturel

2Le terrain aménagé (remblayé ou excavé) est considéré comme terrain naturel lorsque la modification a touché une zone étendue et qu'elle a été dictée par des motifs d'intérêt public, notamment d'aménagement du territoire ou lorsque l'aménagement remonte à de nombreuses années.

 

Surface constructible

Art. 13   1La surface constructible d'un bien-fonds correspond à sa surface sise en zone d'urbanisation.

2N'entrent pas en considération:

a)  les surfaces des rues, des accès et des trottoirs destinés au trafic public, existantes ou définies par des projets pour lesquels la procédure de construction est engagée ou achevée;

b)  les zones de verdure ou les zones non constructibles prévues par un plan d'aménagement, ainsi que les forêts et les cours d'eau;

c)  une surface déjà prise en considération pour le calcul d'une densité, d'un indice d'utilisation du sol ou d'un taux d'occupation du sol.

3Les zones non constructibles prévues par un plan spécial ou un plan de quartier lors d'un regroupement des constructions au sens des articles 68 et 80 LCAT peuvent être prises en considération.

 

701_02_art13 

 

Taux d'occupation du sol

Art. 14   1Le taux d'occupation du sol est le rapport entre l'emprise au sol des bâtiments et la surface constructible d'un bien-fonds.

2Le taux d'occupation du sol est exprimé en pour-cent.

3Les garages et locaux enterrés (trois faces et toiture sous terre) n'entrent pas dans le calcul du taux d'occupation du sol.

 

Densité

Art. 15   1La densité est le rapport entre le volume apparent des bâtiments et la surface constructible d'un bien-fonds.

2Elle s'exprime en m3/m2.

3Le volume apparent se mesure par rapport au terrain naturel.

 

Schéma article 15, alinéa 3

701_02_art15 

 

Indice d'utilisation du sol

Art. 16   1L'indice d'utilisation du sol est le rapport entre la surface brute de plancher utile et la surface constructible d'un bien-fonds.

2Il est calculé selon la directive de l'institut ORL.

 

Indice d'espaces verts

Art. 17   1Les plans d'affectation peuvent prévoir un indice d'espaces verts.

2Ce dernier est le rapport entre les surfaces vertes et la surface constructible d'un bien-fonds.

3Il est exprimé en pour-cent.

 

Section 2: Gabarits (art. 59, al. 1, lettre c, LCAT)

Objectif

Art. 18   Les gabarits ont pour objectif de fixer les distances entre les bâtiments en fonction de leur hauteur, de façon à assurer à chacun l'espace, l'ensoleillement et la lumière nécessaires.

 

Définition

Art. 19   1Le gabarit est un plan dont la trace est au sol.

2Son degré est déterminé par son inclinaison par rapport à l'horizontale, à partir d'une limite de propriété, d'un alignement ou de l'axe d'une rue.

3La trace du gabarit est représentée par son intersection avec le terrain naturel, sous réserve des articles 26 et 27 du règlement.

 

Champ d'application

Art. 20   Les gabarits sont applicables aux bâtiments, qu'ils soient ou non habitables, ainsi qu'aux murs de soutènement.

 

Principes

a) terrains inclinés et horizontaux

Art. 21   Les gabarits doivent être appliqués de façon à éviter des inégalités entre les terrains inclinés et les terrains horizontaux.

 

b) bâtiments en ordre contigu

Art. 22   Pour l'application des gabarits, les bâtiments en ordre contigu sont considérés comme formant une seule construction.

 

c) implantation obligatoire

Art. 23   Lorsqu'un plan d'affectation impose une implantation ou une bande d'implantation, les gabarits ne s'appliquent pas dans la direction concernée.

 

d) croisement de gabarits

Art. 24   Les traces des gabarits de deux bâtiments ne doivent pas se croiser, même si ceux-ci sont situés sur une même parcelle.

 

Application des gabarits

a) direction générale d'application

Art. 25   En l'absence de dispositions communales, les gabarits s'appliquent pour chaque façade en fonction des points cardinaux.

 

 

b) terrains inclinés vers le sud

Art. 26   1En terrain incliné vers le sud et sur les rues en pente, les gabarits s'appliquent sur les façades ouest, nord et est, jusqu'au droit de la façade sud.

2Pour tracer le gabarit sud, on projette le terrain sur un plan horizontal dont le niveau est situé à la cote moyenne du pied de la façade sud sur terrain naturel.

 

c) terrains inclinés différemment

Art. 27   Les principes définis à l'article 26 s'appliquent par analogie, selon la direction de la façade principale.

 

d) attache du plan

Art. 28   1Le gabarit est déterminé à partir:

–   d'une limite de propriété, si le terrain est bordé par un fonds privé;

–   d'un alignement, s'il est en vigueur;

–   de l'axe d'une rue, si le terrain est bordé par le domaine public.

2Est assimilée à une limite de propriété la limite fictive fixée par une convention que concluent les propriétaires voisins (art. 11a, LCAT).

3Si l'alignement n'existe que du côté où doit être construit le bâtiment, le gabarit est attaché à un alignement fictif.

4Si le bâtiment est prévu sur une place, l'autorité communale donnera un alignement fictif correspondant à l'axe des rues conduisant à cette place.

 

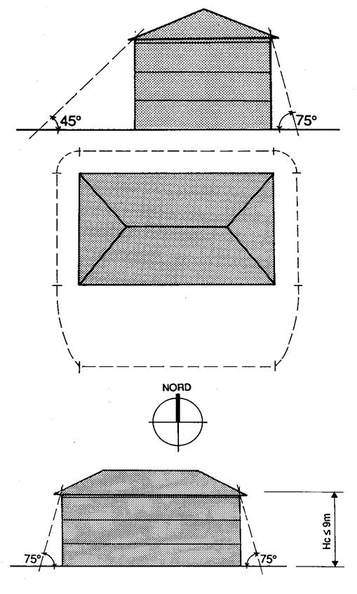
e) degrés

Art. 29   1Le degré des gabarits est de 30°, 45°, 60° ou 75°.

2L'inclinaison ne peut excéder 60° dans la direction donnée par la façade principale.

 

f) application au haut des bâtiments

Art. 30   Les gabarits s'attachent:

–   pour les immeubles à toitures en pente, à la corniche et pour les toitures à la mansarde ou les retraits, à l'intersection des combles supérieurs avec la façade;

–   pour les bâtiments à toits plats, au dernier élément plein de la construction, y compris les parapets pleins.

 

Règles applicables en fonction de la hauteur de corniche (gabarits légaux) en l'absence de plan d'alignement

Art. 31   1Les gabarits, déterminés depuis la limite de la propriété ou l'axe d'une rue sont, pour les bâtiments orientés au sud, les suivants:

 

Degré

Hauteur de corniche

sud-nord

nord-sud

est-ouest

ouest-est

–   jusqu'à 9 m .........................

45

75

75

75

–   entre 9 et 20 m ...................

60

60

75

75

–   plus de 20 m ......................

60

60

60

60

2Le gabarit de 60° s'applique de tous côtés aux bâtiments dont la façade la plus longue s'oriente dans la direction générale nord-sud et dépasse 15 m de longueur.

 

Règles particulières applicables aux bâtiments d'exploitation en zone agricole

Art. 32   1En zone agricole, pour les bâtiments d'exploitation agricole, le gabarit est de 75° de tous côtés.

2Le gabarit de la zone adjacente s'applique en bordure de la zone d'urbanisation.

 

Règles applicables en fonction de la hauteur de corniche (gabarits légaux) en présence d'un plan d'alignement

Art. 33   1En présence d'un plan d'alignement, les gabarits suivants s'appliquent:

Hauteur de corniche

Degré du gabarit

–   égale ou inférieure à 20 m ...........................................

45

–   supérieure à 20 m ........................................................

60

2Le gabarit est attaché à l'alignement opposé.

 

Réserve en faveur des plans d'affectation communaux

a) direction générale applicable

Art. 34   1Pour les bâtiments de moins de 20 m de hauteur de corniche, les communes peuvent fixer, dans leurs plans d'affectation, pour l'ensemble de leur territoire, par zones ou par quartiers, une direction générale d'application des gabarits.

2Ces directions, reportées sur le plan d'aménagement communal, sur le plan spécial ou sur le plan de quartier, sont cotées en degré par rapport aux points cardinaux.

3Pour les bâtiments de moins de 20 m de hauteur de corniche, les communes peuvent prévoir que les gabarits s'appliquent perpendiculairement aux façades.

 

b) degrés

Art. 35   Pour les bâtiments de moins de 20 m de hauteur de corniche, les communes peuvent fixer, pour l'ensemble de leur territoire, par zone ou par quartier, le degré des gabarits dans les limites de l'article 29 (degrés des gabarits) et en dérogation aux articles 31 et 33 (règles applicables en fonction de la hauteur de corniche).

 

Représentation sur les plans

a) en plan

Art. 36   1Le report en plan des gabarits d'une construction se calcule trigonométriquement en divisant la hauteur de corniche par la tangente de l'angle égal au degré des gabarits:

–   à 30°, la hauteur divisée par 0,58

–   à 45°, la hauteur divisée par 1,00

–   à 60°, la hauteur divisée par 1,73

–   à 75°, la hauteur divisée par 3,73

donne la distance minimum des façades au point d'attache.

2Pour les bâtiments à pignons, les gabarits doivent envelopper cet élément.

 

b) en coupe ou en élévation

Art. 37   En coupe ou en élévation, le gabarit, représenté linéairement, est l'une des lignes de plus grande pente du gabarit total.

 

701_02_art37_1 

 

 

 

 

701_02_art37_2 

 

 

 

 

701_02_art37_3 

 

 

 

701_02_art37_4 

 

701_02_art37_20 

701_02_art37_6 

 

701_02_art37_22 

 

 

 

 

 

701_02_art37_8 

 

 

 

 

 

Section 3: Ordre des constructions (art. 59, al. 2, lettre b, LCAT)

Généralités

Art. 38   L'ordre des constructions peut être contigu, presque contigu ou non contigu.

 

Ordre contigu

Art. 39   L'ordre contigu est illustré par le schéma suivant, sur lequel figurent les prescriptions qui doivent être fixées dans le plan d'aménagement, dans un plan spécial ou dans un plan de quartier, à savoir:

a)  l'alignement obligatoire ou/et la bande d'implantation;

b)  la profondeur;

c)  la hauteur;

d)  les gabarits.

701_02_art37_9 

 

Ordre non contigu

Art. 40   1L'ordre non contigu est caractérisé par le dégagement complet des bâtiments et par les distances à observer entre bâtiments et limites de propriété, ou entre bâtiments situés sur une même parcelle.

2Les distances entre bâtiments sont déterminées par les gabarits.

3Dans les zones d'ordre non contigu, les habitations jumelées et les habitations individuelles groupées ainsi que les maisons-terrasses sont admises.

 

 

701_02_art37_10 

 

Ordre presque contigu

Art. 41   1L'ordre presque contigu est une variante de l'ordre non contigu.

2Il peut être prescrit dans les secteurs où il correspond à une tradition urbanistique; dans des secteurs non encore bâtis, sa réalisation est subordonnée à l'élaboration d'un plan de quartier.

 

Section 4: Types d'habitation

Habitations indi-viduelles (habitat individuel)

Art. 42   1Sont considérées comme habitations individuelles des constructions comportant au maximum trois logements.

2Les logements peuvent être superposés ou juxtaposés à deux unités (habitations jumelées) ou à trois unités. Les locaux de service peuvent être communs.

 

Habitations individuelles groupées (habitat groupé)

Art. 43   Sont considérées comme habitations individuelles groupées des constructions juxtaposées telles que maisons en rangée, en chaîne ou en bande continues, comprenant au minimum quatre unités.

 

Maisons-terrasses

Art. 443)   Sont considérées comme maisons en terrasses des habitations superposées mais décalées les unes par rapport aux autres selon un angle parallèle (ou proche) de celui de la pente du terrain naturel, ce décalage permettant de doter chaque niveau d'une terrasse ouverte aménagée sur la dalle qui couvre le niveau immédiatement inférieur.

 

Habitations collectives

(habitat collectif)

Art. 45   Sont considérées comme habitations collectives les autres constructions comportant plus de trois logements.

 

Section 5: Hauteur des bâtiments (art. 59, al. 2, lettre b, LCAT)

Principes

Art. 46   1La hauteur des bâtiments est déterminée dans les plans d'affectation par la hauteur de corniche, le nombre de niveaux ou la hauteur au faîte.

2De plus, les plans de quartier et les plans spéciaux peuvent prévoir une cote d'altitude maximum.

3Les hauteurs de corniche et au faîte se mesurent par rapport au terrain naturel. Le terrain aménagé est considéré comme naturel aux conditions fixées à l'article 12.

 

Hauteur moyenne

Art. 47   1La hauteur de corniche est une hauteur moyenne qui se mesure aux angles du bâtiment.

2La hauteur au faîte correspond à la moyenne des hauteurs mesurées selon la définition de l'article 50.

3Si la construction comporte deux ou plusieurs corps contigus nettement distincts, la hauteur moyenne sera calculée pour chaque élément.

 

Hauteur de corniche

a) toiture en pente

Art. 48   1La hauteur de corniche se mesure à l'intersection du plan du rampant de la toiture avec le plan de la façade considérée.

2Dans les cas de toits à la mansarde et de retrait, on prendra l'intersection des combles supérieurs avec la façade.

 

701_02_art48 

 

b) toitures plates

Art. 49   1Pour les bâtiments à toiture plate, la hauteur est celle de la dalle de couverture même si les gabarits s'attachent aux parapets.

2Il en est de même si les attiques sont admis par la réglementation communale.

 

701_02_art49 

 

Hauteur au faîte

Art. 50   Sauf cas particuliers, la hauteur au faîte se mesure à l'intersection de la ligne du faîte avec le plan de la façade considérée.

 

701_02_art50 

 

Section 6: Longueur des bâtiments (art. 59, al. 2, lettre b, LCAT)

Longueur

Art. 51   1La longueur est la dimension la plus grande du quadrilatère dans lequel s'inscrit la construction.

2La longueur maximale est L.

 

701_02_art51 

 

Section 7: Niveaux (art. 59, al. 2, lettre c, LCAT)

Niveaux

Art. 52   1Les niveaux prescrits par les plans d'affectation sont les niveaux apparents.

2Par niveaux apparents, il faut entendre un niveau visible de l'extérieur, les niveaux étant comptés sur chaque façade.

 

CHAPITRE 4

Constructions et installations hors de la zone d'urbanisation

Procédure

Art. 53   1Toute demande motivée pour les constructions ou les installations hors de la zone d'urbanisation est adressée au Conseil communal en même temps que la demande de sanction préalable ou définitive.

2Les dispositions du règlement d'exécution de la loi sur les constructions relatives à la coordination sont applicables.

 

Préavis

Art. 54   Le Conseil communal envoie son préavis au service en même temps que son préavis relatif à la demande de sanction préalable ou définitive.

 

Décisions

Art. 55   Les décisions du département prises en application des articles 62 et 63 LCAT sont notifiées conformément aux règles de la coordination.

 

Procédure simplifiée

Art. 56   Si le Conseil communal entend soumettre un projet à la procédure simplifiée, il consulte au préalable le service.

 

Formulaires officiels

Art. 57   Le service établit les formulaires officiels nécessaires et les tient à la disposition des intéressés.

 

CHAPITRE 5

Dérogations aux plans d'alignement

Section 1: Plans d'alignement communaux

Procédure

Art. 58   1La demande de dérogation aux plans d'alignement communaux, écrite et motivée, est adressée au Conseil communal en même temps que la demande de sanction préalable ou définitive.

2Les dispositions du règlement d'exécution de la loi sur les constructions relatives à la coordination sont applicables.

 

Convention de précarité

Art. 59   Si le département envisage d'approuver la dérogation, il invite la commune à faire élaborer et signer une convention de précarité.

 

Section 2: Plans d'alignement cantonaux

Procédure

Art. 60   1La demande de dérogation aux plans d'alignement cantonaux, écrite et motivée, est adressée au Conseil communal en même temps que la demande de sanction préalable ou définitive.

2Les dispositions du règlement d'exécution de la loi sur les constructions relatives à la coordination sont applicables.

 

Convention de précarité

Art. 61   La convention de précarité, qui doit être signée par le Conseil d'Etat, est élaborée par le département.

 

CHAPITRE 6

Dérogations à la distance par rapport aux cours d'eau

Procédure

Art. 62   1La demande de dérogation à la distance par rapport aux cours d'eau, écrite et motivée, est adressée au Conseil communal en même temps que la demande de sanction préalable ou définitive.

2Les dispositions du règlement d'exécution de la loi sur les constructions relatives à la coordination sont applicables.

 

CHAPITRE 7

Echelle des plans

Plans cadastraux

Art. 63   1Les plans d'affectation sont établis sur la base des plans cadastraux à une échelle appropriée, définie en accord avec le service.

2Les plans de quartier et de lotissement sont établis en règle générale à l'échelle 1:500.

 

CHAPITRE 8

Zone réservée et interdiction de bâtir

Zone réservée

Art. 64   La création d'une zone réservée au sens de l'article 57 LCAT suit la procédure relative aux plans d'aménagement. Il n'est toutefois pas nécessaire que le plan soit signé par une personne autorisée.

 

Interdiction temporaire de bâtir

Art. 65   Le Conseil communal est l'autorité compétente pour prononcer une interdiction temporaire de bâtir selon l'article 48 LCAT.

 

CHAPITRE 9

Plans de quartier

Répartition des frais d'élaboration des plans de quartier

Art. 66   Lorsqu'une commune élabore un plan de quartier, les frais d'élaboration à partager entre les propriétaires le sont en fonction du plus grand volume bâtissable selon le plan de quartier.

 

Exigibilité

Art. 67   1La participation des propriétaires aux frais est exigible dès l'entrée en force du plan de quartier. La commune peut demander des avances en proportion des travaux entrepris ou, dans des cas particuliers, différer la perception de la participation aux frais.

Intérêt moratoire

2Lorsque la perception de la participation aux frais est différée, un intérêt moratoire dont le taux est fixé par le règlement d'exécution de la loi sur les contributions directes, du 30 novembre 1965, est dû.

 

CHAPITRE 10

Equipement, contributions et taxes

Contributions

Art. 68   1Sont notamment pris en considération pour le calcul de la contribution les frais engagés:

a)  pour l'établissement des projets;

b)  pour la conduite des projets;

c)  pour l'acquisition des terrains ou d'autres droits immobiliers nécessaires à l'exécution des projets, y compris la valeur vénale des surfaces appartenant déjà à la commune;

d)  pour les intérêts du crédit de construction;

e)  pour les constructions proprement dites sur le domaine public, tels que routes, trottoirs, éclairage public, canalisations, clôtures.

2Les subventions reçues pour les projets et leur exécution doivent être déduites des dépenses avant de fixer la contribution aux frais d'équipement.

Intérêt moratoire

3Les contributions qui ne sont pas payées à l'échéance du délai de paiement ou qui sont différées sont soumises à un intérêt moratoire dont le taux est celui fixé par le règlement d'exécution de la loi sur les contributions directes, du 30 novembre 19654).

 

Equipement de la zone d'urbanisation

Art. 69   1La zone d'urbanisation est équipée en fonction du principe de l'utilisation mesurée du sol.

2Les voies d'accès sont aménagées de manière à tenir compte:

a)  de la sécurité de tous les usagers;

b)  de la lutte contre le bruit et la pollution de l'air;

c)  des particularités du site et de la topographie;

d)  de la modération de la circulation;

e)  des transports publics.

 

Largeur des chaussées

Art. 70   1La largeur des chaussées est déterminée par l'intensité existante ou planifiée du trafic.

2En règle générale, la largeur sera:

–   de 3 mètres pour les routes à sens unique;

–   de 4,5 mètres pour les routes ouvertes à la circulation dans les deux sens;

–   au maximum de 5 mètres pour les routes de desserte;

–   au maximum de 6 mètres pour les routes collectrices.

3D'autres dispositions peuvent être prises par les communes, sur la base des normes de l'USPR (VSS).

 

CHAPITRE 11

Taxes d'administration

Département

Art. 715)   Les décisions du département font l'objet d'une taxe d'administration d'un montant de 100 à 3000 francs à charge du requérant.

 

Préavis du département

a) principe

Art. 71a6)   1Le préavis du département concernant des plans spéciaux ou des plans de quartier fait l'objet d'une taxe d'administration à charge de la commune, d'un montant maximum de 5000 francs.

2La commune peut reporter la taxe d'administration sur les propriétaires.

 

b) plans de quartier

Art. 71b7)   1La taxe d'administration est calculée à raison d'une taxe de base d'un montant de 500 francs par dossier et de 0,40 franc par m2 de surface constructible comprise dans le plan de quartier.

2Elle couvre les prestations usuelles du service pour l'examen d'un plan de quartier, depuis les premiers contacts et jusqu'au préavis du département, à savoir l'élaboration et la rédaction du préavis et trois séances au maximum avec le service.

3Pour toute prestation supplémentaire par rapport à celles définies à l'alinéa 2, une taxe d'administration complémentaire est due selon le temps consacré, aux 80% du tarif "honoraires des bureaux d'études" prévu par le service des ponts et chaussées pour l'année en cours.

 

c) plans spéciaux

Art. 71c8)   1La taxe d'administration est calculée à raison d'une taxe de base  d'un montant de 500 francs par dossier à laquelle s'ajoute un montant correspondant à:

a)  0,80 franc par m2 de surface de vente, pour les centres d'achats jusqu'à 2499 m2 de surface de vente;

b)  1 franc par m2 de surface de vente, pour les centres d'achats de plus de 2500 m2 de surface de vente;

c)  100 francs par boxe de chevaux, pour les plans spéciaux concernant des manèges;

d)  5‰ des garanties déposées, pour les plans d'extraction;

e)  0,40 franc par m2 de surface constructible, pour tous les autres plans spéciaux.

2Elle couvre les prestations usuelles du service pour l'examen d'un plan spécial, depuis les premiers contacts et jusqu'au préavis du département, à savoir l'élaboration et la rédaction du préavis et trois séances au maximum avec le service.

3Pour toute prestation supplémentaire par rapport à celles définies à l'alinéa 2, une taxe d'administration complémentaire est due selon le temps consacré, aux 80% du tarif "honoraires des bureaux d'études" prévu par le service des ponts et chaussées pour l'année en cours.

 

d) modification de plans de quartier et de plans spéciaux

Art. 71d9)   En cas de modification d'un plan de quartier ou d'un plan spécial, la taxe d'administration est calculée selon le temps consacré, aux 80% du tarif "honoraires des bureaux d'études" prévu par le service des ponts et chaussées pour l'année en cours.

 

CHAPITRE 12

Fonds cantonal d'aménagement du territoire

Participation

Art. 72   Les participations du fonds sont octroyées en application de l'article 41 LCAT par le Conseil d'Etat.

 

Prise en charge d'intérêts

Conditions de l'aide

a) quant à l'objet

Art. 73   Les intérêts peuvent être pris en charge, au sens de l'article 41, lettre b, LCAT, lorsque:

a)  l'achat de biens-fonds, situés dans le rayon usuel d'exploitation, permet de consolider l'entreprise agricole, sans compromettre les objectifs du droit foncier rural, en particulier ceux relatifs à l'accaparement de terres et au démantèlement de domaines entiers;

b)  le prix d'acquisition du bien-fonds n'excède pas le prix maximum pouvant être admis pour les achats de parcelles à l'aide des crédits institués par la loi fédérale sur les crédits d'investissements dans l'agriculture et l'aide aux exploitations paysannes;

c)  le requérant engage ses propres ressources financières autant qu'on peut l'attendre de lui;

d)  la requête est introduite auprès du service de l'économie agricole avant la conclusion de la transaction immobilière.

 

b) quant à l'emprunt

Art. 74   1La part des emprunts pouvant bénéficier d'une prise en charge d'intérêts est celle dépassant la charge maximale, au sens de l'article 73 de la loi fédérale sur le droit foncier rural, du 4 octobre 199110), jusqu'à concurrence de la moitié du prix d'acquisition admis aux termes de l'article 7.2., lettre b, du règlement.

2Les emprunts, garantis par un droit de gage sous la forme d'hypothèque, seront amortis par des annuités équivalant au moins à la quinzième partie du capital primitif.

 

Fin de l'aide

Art. 75   1La prise en charge d'intérêts cesse au plus tard:

a)  à l'extinction de l'emprunt;

b)  en cas d'aliénation de tout ou partie de l'entreprise agricole à un tiers.

2En cas d'amélioration sensible de la situation financière du bénéficiaire, l'aide peut être dénoncée prématurément et des intérêts aux taux usuels peuvent lui être réclamés en tout ou partie pour la durée pendant laquelle il a bénéficié de l'aide.

 

Gestion

Art. 76)11)  Le fonds est géré par le Département de la justice, de la sécurité et des finances.

 

Subventionnement des plans d'aménagement communaux

a) principe

Art. 77   Les études relatives aux plans d'aménagement communaux peuvent faire l'objet d'une subvention maximale jusqu'à 30% des frais engagés, mais en principe au plus de 25.000 francs par commune. Dans des cas exceptionnels, l'aide peut être portée à 50.000 francs.

 

b) procédure

Art. 78   1Les demandes de subvention doivent être adressées au service, accompagnées d'un budget, avant le début des études.

2Le budget est examiné par le service et approuvé par le département.

3Le Conseil d'Etat arrête le montant de la subvention.

 

CHAPITRE 13

Dispositions transitoires et finales

Dispositions transitoires

Art. 79   Le présent règlement s'applique aux plans d'affectation indépendamment de la date de leur adoption.

 

Disposition abrogée

Art. 80   Le règlement d'exécution de la loi cantonale sur l'aménagement du territoire (RELCAT), du 1er avril 199212), est abrogé.

 

Entrée en vigueur

Art. 81   1Le présent règlement entre en vigueur le 1er janvier 1997.

2Il sera publié dans la Feuille officielle et inséré au Recueil de la législation neuchâteloise

 

 

TABLE DES MATIERES

Règlement d'exécution de la loi cantonale

sur l'aménagement du territoire (RELCAT)

 

CHAPITRE PREMIER

Article

Autorités compétentes

 

Départements ............................................................................................

1

a)  principe ..................................................................................................

1

b)  réserve ..................................................................................................

2

Services .....................................................................................................

3

a)  principe ..................................................................................................

3

b)  réserve ..................................................................................................

4

Division de parcelles ..................................................................................

5

CHAPITRE 2

 

Procédure de rectification de limites (art. 31c à 31g, LCAT)

 

Enquête publique .......................................................................................

6

Opposition ..................................................................................................

7

Dépôt du dossier .......................................................................................

8

Décision .....................................................................................................

9

Inscription au registre foncier ....................................................................

10

CHAPITRE 3

 

Contenu des plans d'affectation

 

Section 1: Degré d'utilisation des terrains (art. 59, al. 1, lettre b, et al. 2, lettre a, LCAT)

 

Degré d'utilisation des terrains ..................................................................

11

Calcul des dimensions des constructions .................................................

12

Terrain naturel ...........................................................................................

12

Surface constructible .................................................................................

13

Taux d'occupation du sol ...........................................................................

14

Densité .......................................................................................................

15

Indice d'utilisation du sol ............................................................................

16

Indice d'espaces verts ...............................................................................

17

Section 2: Gabarits (art. 59, al. 1, lettre c, LCAT)

 

Objectif .......................................................................................................

18

Définition ....................................................................................................

19

Champ d'application ..................................................................................

20

Principes ....................................................................................................

21

a)  terrains inclinés et horizontaux .............................................................

21

b)  bâtiments en ordre contigu ...................................................................

22

c)  implantation obligatoire .........................................................................

23

d)  croisement de gabarits .........................................................................

24

Application des gabarits ............................................................................

25

a)  direction générale d'application ............................................................

25

b)  terrains inclinés vers le sud ..................................................................

26

c)  terrains inclinés différemment ..............................................................

27

d)  attache du plan .....................................................................................

28

e)  degrés ...................................................................................................

29

f)  application au haut des bâtiments ........................................................

30

Règles applicables en fonction de la hauteur de corniche (gabarits légaux) en l'absence de plan d'alignement ..............................................................................................

 

31

Règles particulières applicables aux bâtiments d'exploitation en zone agricole      

 

32

Règles applicables en fonction de la hauteur de corniche (gabarits légaux) en présence d'un plan d'alignement .......................................................................................

 

33

Réserve en faveur des plans d'affectation communaux ...........................

34

a)  direction générale applicable ................................................................

34

b)  degrés ...................................................................................................

35

Représentation sur les plans .....................................................................

36

a)  en plan ..................................................................................................

36

b)  en coupe ou en élévation .....................................................................

37

Section 3: Ordre des constructions (art. 59, al. 2, lettre b, LCAT)

 

Généralités ................................................................................................

38

Ordre contigu .............................................................................................

39

Ordre non contigu ......................................................................................

40

Ordre presque contigu ...............................................................................

41

Section 4: Types d'habitation

 

Habitations individuelles (habitat individuel) .............................................

42

Habitations individuelles groupées (habitat groupé) .................................

43

Maisons-terrasses .....................................................................................

44

Habitations collectives (habitat collectif) ...................................................

45

Section 5: Hauteur des bâtiments (art. 59, al. 2, lettre b, LCAT)

 

Principes ....................................................................................................

46

Hauteur moyenne ......................................................................................

47

Hauteur de corniche ..................................................................................

48

a)  toiture en pente .....................................................................................

48

b)  toitures plates ........................................................................................

49

Hauteur au faîte .........................................................................................

50

Section 6: Longueur des bâtiments (art. 59, al. 2, lettre b, LCAT)

 

Longueur ....................................................................................................

51

Section 7: Niveaux (art. 59, al. 2, lettre c, LCAT)

 

Niveaux ......................................................................................................

52

CHAPITRE 4

 

Constructions et installations hors de la zone d'urbanisation

 

Procédure ..................................................................................................

53

Préavis .......................................................................................................

54

Décisions ...................................................................................................

55

Procédure simplifiée ..................................................................................

56

Formulaires officiels ...................................................................................

57

CHAPITRE 5

 

Dérogations aux plans d'alignement

 

Section 1: Plans d'alignement communaux

 

Procédure ..................................................................................................

58

Convention de précarité ............................................................................

59

Section 2: Plans d'alignement cantonaux

 

Procédure ..................................................................................................

60

Convention de précarité ............................................................................

61

CHAPITRE 6

 

Dérogations à la distance par rapport aux cours d'eau

 

Procédure ..................................................................................................

62

CHAPITRE 7

 

Echelle des plans

 

Plans cadastraux .......................................................................................

63

CHAPITRE 8

 

Zone réservée et interdiction de bâtir

 

Zone réservée ............................................................................................

64

Interdiction temporaire de bâtir .................................................................

65

CHAPITRE 9

 

Plans de quartier

 

Répartition des frais d'élaboration des plans de quartier ..........................

66

Exigibilité ....................................................................................................

67

Intérêt moratoire ........................................................................................

67

CHAPITRE 10

 

Equipement, contributions et taxes

 

Contributions ..............................................................................................

68

Intérêt moratoire ........................................................................................

68

Equipement de la zone d'urbanisation ......................................................

69

Largeur des chaussées .............................................................................

70

CHAPITRE 11

 

Taxes d'administration

 

Département ..............................................................................................

71

Préavis du département

 

a)  principe ..................................................................................................

71a

b)  plans de quartier ...................................................................................

71b

c)  plans spéciaux ......................................................................................

71c

d)  modification de plans de quartier et de plans spéciaux .......................  

71d

CHAPITRE 12

 

Fonds cantonal d'aménagement du territoire

 

Participation ...............................................................................................

72

Prise en charge d'intérêts ..........................................................................

73

Conditions de l'aide ...................................................................................

73

a)  quant à l'objet ........................................................................................

73

b)  quant à l'emprunt ..................................................................................

74

Fin de l'aide ...............................................................................................

75

Gestion ......................................................................................................

76

Subventionnement des plans d'aménagement communaux ....................

77

a)  principe ..................................................................................................

77

b)  procédure ..............................................................................................

78

CHAPITRE 13

 

Dispositions transitoires et finales

 

Dispositions transitoires ............................................................................

79

Disposition abrogée ...................................................................................

80

Entrée en vigueur ......................................................................................

81

 

 

 

 

Notes:

(*)         FO 1996 No 79

 

1)         RSN 701.0

 

2)         Teneur selon A du 24 mai 2006 (FO 2006 N° 39)

 

3)         Teneur selon A du 5 juillet 2006 (FO 2006 N° 51)

 

4)         RLN III 612; actuellement R du 1er novembre 2000 (RSN 631.01)

 

5)         Teneur selon A du 20 février 2006 (FO 2006 N° 15) et A du 24 mai 2006 (FO 2006 N° 39)

 

6)         Introduit par A du 20 février 2006 (FO 2006 N° 15) et modifié par A du 24 mai 2006 (FO 2006 N° 39)

 

7)         Introduit par A du 20 février 2006 (FO 2006 N° 15) et modifié par A du 24 mai 2006 (FO 2006 N° 39)

 

8)         Introduit par A du 20 février 2006 (FO 2006 N° 15) et modifié par A du 24 mai 2006 (FO 2006 N° 39)

 

9)         Introduit par A du 20 février 2006 (FO 2006 N° 15)

 

10)        RS 211.412.11

 

11)        Teneur selon A du 24 mai 2006 (FO 2006 N° 39)

 

12)        RLN XVI 314